开启辅助访问 切换到窄版

登录  |

游客您好!登录后享受更多精彩

查看: 334|回复: 0

[常见问题] 新版电子税务局操作指引--申报错误更正

[复制链接]

887

主题

154

回帖

4109

积分

超级版主

Rank: 8Rank: 8

积分
4109
发表于 2024-3-18 15:12:57 | 显示全部楼层 |阅读模式
本帖最后由 同和服务 于 2024-3-18 15:12 编辑

视频讲解

  纳税人办理纳税申报后,发现申报表存在错误,进行修改更正或作废。申报更正或作废时只能全量更正或者申报作废,不允许差额更正或补充申报。

一、功能路径
1、【我要办税】-【税费申报及缴纳】-【申报更正与作废】
2、通过首页搜索栏输入关键字查找出的“申报更正与作废'进入办税功能。

二、操作步骤
1、登录电子税务局后,点击【我要办税】-【税费申报及缴纳】-【申报更正与作废】功能菜单。

01

01

2、进入界面后,纳税人可选择申报日期范围、税款所属期等筛选条件。如果需要根据申报表名称进行查询,点击【展开】进行申报表的选择,点击【查询】,对已完成申报的申报表信息进行查询。

02

02

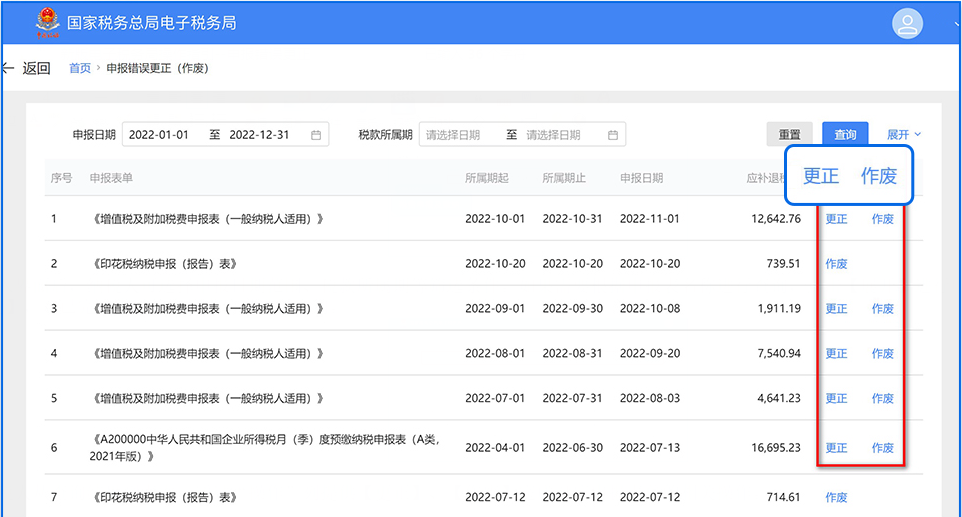
3、纳税人从查询结果列表中,通过“操作”列提供【更正】、【作废】完成对应申报表单的相关操作。

03

03

01、点击“作废”,弹出“请确认”提示,点击【确定】。

04

04

作废成功后弹出相应提示,点击【确定】后流程结束。

05

05

02、点击“更正

06

06

跳转相应模块进行操作,更正成功后会弹出相应提示。

07

07

三、注意事项
1、纳税人对报送材料的真实性和合法性承担责任。
2、作废申报表只能在对应申报当期的申报期限之内,且未开具完税凭证或划缴税款的情况下进行,否则不能作废申报表,只能对已申报的申报表进行更正处理。
3、申报更正或作废后,如涉及补缴税款且超出缴款期限的,应按规定加收滞纳金。
4、企业所得税季度申报表只允许纳税人更正最末一个已申报的季度申报表,完成企业所得税年度申报后,不得再对当年内的季度申报表进行更正。
5、更正所属期申报的原应征数据已通过延期缴纳税款审批,申报更正或作废后纳税人需要进行变更税务行政许可。若延期缴纳税款审批未办结,继续该流程时,保存申报错误更正数据时会作废延期缴纳税款审批业务。
6、主税更正后如不更正附加税费,则不予保存主税更正申报,并提示主税和附加税均更正后一并保存。

四、常见问题
1、问:为什么操作列中部分申报表无【作废】操作项?
答、根据业务规定,允许作废需满足于申报表在申报期限范围内,同时未进行税(费)款缴纳,若纳税人存在以上其一,则不允许进行作废操作,系统不展示“作废”操作项。

2、问:财产行为税如何进行变更?
答:如需对财产和行为税相关税种进行申报更正,需先对相关税源信息进行更正,不能直接更正申报表。选择需更正的申报信息后,点击【更正】,系统自动跳转税源采集模块,提醒纳税人先更正税源信息再进行申报表更正。
回复

使用道具 举报

高级模式
B Color Image Link Quote Code Smilies

本版积分规则

小黑屋|同和社区

GMT+8, 2025-11-3 22:39 , Processed in 0.028750 second(s), 22 queries .

Tohot! X3.4

Copyright © 2001-2020, Tohot Cloud.

快速回复 返回顶部 返回列表