开启辅助访问 切换到窄版

登录  |

游客您好!登录后享受更多精彩

查看: 411|回复: 0

[常见问题] 新版电子税务局操作指引--税费缴纳

[复制链接]

887

主题

154

回帖

4109

积分

超级版主

Rank: 8Rank: 8

积分
4109
发表于 2024-3-21 11:39:55 | 显示全部楼层 |阅读模式
本帖最后由 同和服务 于 2024-3-21 13:31 编辑

一、操作指引
(一)进入功能模块
登录新电子税局后,点击【我要办税】-【税费申报及缴纳】-【税费缴纳】功能菜单。

01

01

进入税费缴纳界面,界面显示待缴税费信息。

02

02

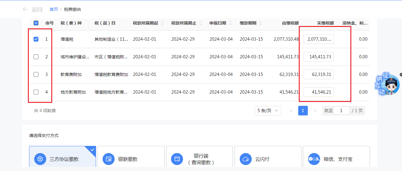
(二)选择税费明细
进入页面后,默认勾选全部的应缴税费信息,且自动预填实缴税额,并默认勾选“同时缴纳滞纳金”。实缴税额可进行更改,但金额不能超过应缴税额。可单独勾选其中一笔或多笔税费款。系统会计算选中税款的合计金额,并显示大写数字。

03

03

纳税人可根据实际情况,选择是否同时缴纳滞纳金,纳税人在缴纳逾期缴纳的税费本金后,滞纳金会停止计算。如果选择“不同时缴纳滞纳金”,则该笔滞纳金会一直作为欠缴,将影响纳税人信用。

04

04

(三)选择支付方式
目前系统支持:三方协议缴款、银行端(查询缴款)、银联缴款、云闪付、微信、支付宝。
1.三方协议缴款。已经签订三方协议的系统默认选择三方协议缴款,可选择【预约缴款】或【立即缴款】。
(1)点击【立即缴款】。

05

05

弹出三方协议界面,显示对应的缴款信息,核对无误后点击【确定】。

06

06

如缴款成功,系统提示“缴款成功”, 点击【返回首页】可返回系统首页,点击【继续办理】可返回功能界面进行业务办理,点击【去办理】可开具税收完税证明。

07

07

如果缴款失败,系统提示“缴款失败”,并显示“失败原因”。

08

08

(2)点击【预约缴款】(如果应缴税费未到缴款期限,纳税人可在缴款期限前5天内选择预约缴款)。

09

09

弹出预约缴款界面,选择预约缴款日期后点击【确定】。

10

10

系统弹出温馨提示,点击【确定】跳转到已预约扣款信息页面。

11

11

12

12

如果需要修改预约扣款日期,点击【修改】。

13

13

弹出预约缴款界面,选择要修改的缴款日期后点击【确定】。

14

14

如果需要删除预约扣款数据,点击【删除】。弹出提示“确认删除吗?”,点击【确定】,删除后可以在【未缴税款】页面重新查询到未缴税款数据。

15

15

16

16

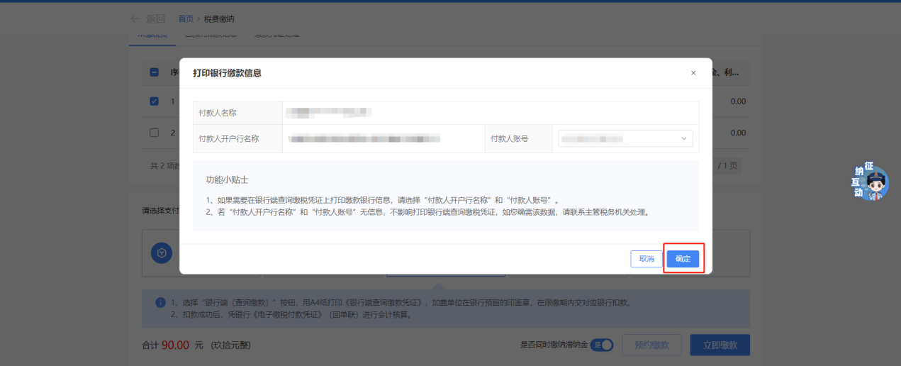
2.银行端(查询缴款)
选择银行端(查询缴款)(没有签订三方协议的,系统默认选择【银行端(查询缴款)】支付方式), 点击【立即缴款】。

17

17

弹出打印银行缴款信息界面, 显示对应的缴款信息,核对无误后点击【确定】。

18

18

系统提示“开具成功”。 点击【银行端查询缴款凭证】,下载《银行端查询缴款凭证》,点击【继续办理】可返回功能界面进行业务办理。

19

19

银行端查询缴税凭证如下:

20

20

3.银联缴款
选择银联缴款,点击【立即缴款】。

21

21

弹出银联缴款信息,点击【扣款】。

22

22

弹出银联支付界面,可选择“卡号付款”与“登录付款”两种形式。

23

23

输入相关信息,完成付款后扣款状态显示“成功”。

24

24

4.云闪付
选择云闪付,点击【立即缴款】。

25

25

弹出云闪付支付信息,点击【扣款】。

26

26

弹出二维码付款页面,可通过云闪付APP扫一扫二维码进行缴款。

27

27

完成付款后扣款状态显示“成功”。

28

28

纳税人使用银行端(查询缴款)、银联缴款或第三方支付缴款,但缴款失败导致税(费)款被锁定,可进入【税费缴纳】模块,选择【缴费凭证处理】,进行【解锁】操作,解锁成功后,进入【未交税费】可重新进行缴款。

29

29

30

30

5.微信、支付宝
选择微信、支付宝,点击【立即缴款】。

31

31


二、注意事项
1、纳税人对报送材料的真实性和合法性承担责任。
2、纳税人在进行税费缴纳时,选择不同的支付银行,存在不同的单笔或当日支付限额。因支付限额的原因无法完成税费缴纳时,建议咨询相应开户银行进行支付限额的查询及调整。

三、常见问题
1、预约缴款功能是什么?我怎么使用?
答:新电子税局新增了类似于信用卡自动还款的预约缴款功能,您可以预先设置期望缴纳税费的时间,到该时间点系统自动为您扣缴税费。您可以进入【我要办税】-【税费申报及缴纳】-【税费缴纳】功能,选择应缴税费明细后点击【预约缴款】;进入预约缴款界面选择预约缴款日期,点击【确定】,系统提示“设置成功”后,即可跳转到已预约扣款信息页面,查看预约缴款信息。

2、我需要符合什么条件才能使用预约缴款?
答:预约缴款是三方协议支付的延伸,您只有签订了三方协议才能使用预约缴款;同时需要在应缴税费的缴款期限前5天内进行预约设置,且预约缴款日期不能超过应缴税费的缴款期限。

3、我是否可以同时选择不同缴款期限的应缴数据进行预约缴款?
答:不可以,只能选择相同缴款期限且未到缴款期限的应缴数据进行预约缴款。例如增值税及附加4条税费信息的缴款期限为当月15日,残保金缴款期限为31日,纳税人在选择上述5条税费明细,点击“预约缴款”时提示:“您选择的待预约税费信息中包含不同缴款期限,不能同时选择预约缴款,请分别选择。”且不弹出预约选择页面。

4、使用银行端(查询缴款)、银联缴款或第三方支付缴款但未缴款成功导致税(费)款被锁定,我应该怎么处理?
答:进入【税费缴纳】模块,选择【缴款凭证处理】,进行【解锁】操作,解锁成功后,可重新进行缴款。

32

32

5、我如果支付失败应该怎么处理?
答:可尝试再次进入【税费缴纳】模块,查询【未缴税款】,进行缴款。
回复

使用道具 举报

高级模式
B Color Image Link Quote Code Smilies

本版积分规则

小黑屋|同和社区

GMT+8, 2025-11-3 22:38 , Processed in 0.028985 second(s), 22 queries .

Tohot! X3.4

Copyright © 2001-2020, Tohot Cloud.

快速回复 返回顶部 返回列表